通知公告
详情

日照政务服务网入口及网上申报操作流程说明

日照政务服务网网上申报

1.登录日照政务服务网点击事项右侧的“申报”按钮,开始申报。

2.进入申报界面后,阅读业务所需审批条件及申报材料信息,全部勾选后点击“下一步”。

3.在基本信息页面填入姓名、身份证号、联系方式、联系地址,其中“*”为必填项,填写无误后点击“下一步”。

4.根据提示填写表格信息,无误后点击“下一步”。

5.在申报材料界面用户既可以上传申请材料的电子版文档,也可以选择“窗口提交”。点击材料右侧的“选择附件”按钮,找到电子文档的存档位置,然后上传,上传完毕以后,点击“下一步”。

6.结果领取方式共有两种,分别是自取和邮寄,选择“邮寄”时需要输入收件人的收件信息,无误后点击“提交”,然后点击“确定”。

7.当出现下图界面时,即完成业务的申报。

结果公示查询

1.在山东政务服务网(日照站)点击“结果公示”模块。

2.在“结果公示”页面,在左侧“按部门分类”中查找该事项所在的部门,在办件名称框中直接输入办件名称进行查找。



其他疑难问题解答

1.账号注册、登录及法人绑定相关问题,具体请电联18663778981。

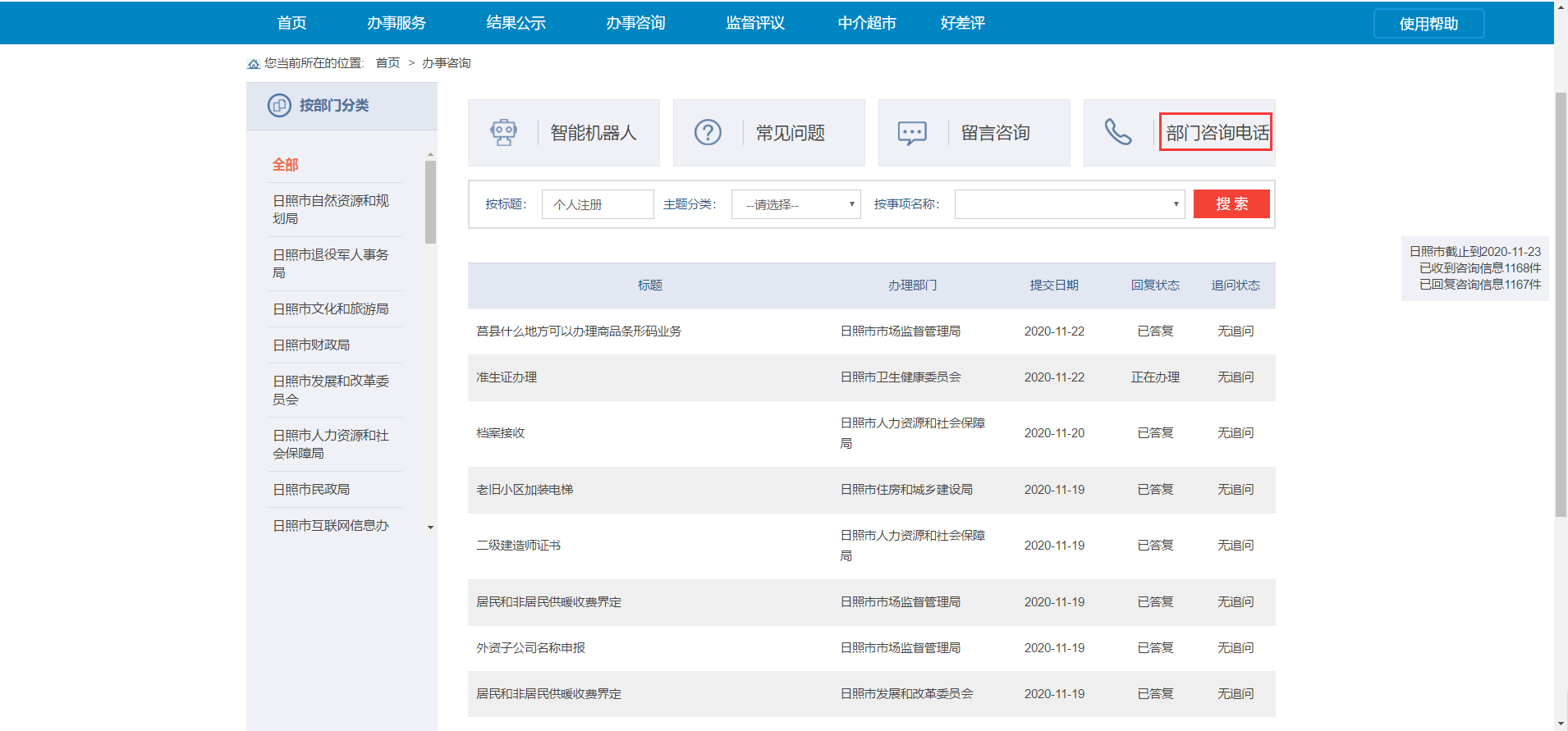
2.业务办理问题请联系相关业务部门。在“办事咨询”模块,点击“部门咨询电话”,找到部门电话,致电咨询。

2.留言咨询:在“办事咨询”模块,点击“留言咨询”,根据提示信息填写姓名、电话号码、电子邮箱,选择部门和事项,填写标题、咨询内容、页面验证码,然后提交,等待业务人员回复(一般会在2个工作日内收到回复)。



搜索事项

1.在山东政务服务网(日照站)点击“办事服务”模块。

2.在“办事服务”页面根据需要办理的具体事项在左侧“按部门分类”中查找该事项所在的部门,然后在该部门下查找具体办理的事项,也可在事项名称框中直接输入事项名称进行查找。



阅读办事指南

1.找到需要办理的事项,在右侧点击“办事指南”。

2.查看事项基本信息。

声明:本文来源于日照市政务服务网,由95商服网(原中国政务服务网)排版编辑,如有侵权,请及时联系管理员删除