通知公告
详情

日照政务服务网上办事咨询使用说明

日照政务服务网上办事咨询

1.在山东政务服务网(日照站)点击“办事咨询”模块。

2.点击“常见问题”。

3.在左侧“按部门分类”中查找该事项所在的部门,然后在该部门下查找具体问题,也可在事项名称框中直接输入问题进行查找。

4.若常见问题中没有想要咨询的问题,返回“办事咨询”模块,在列表中查询是否之前已有相同问题咨询,在左侧“按部门分类”中查找该事项所在的部门,然后在该部门下查找具体问题,也可在事项名称框中直接输入问题进行查找。

5.若之前没有相同问题咨询,点击“留言咨询”。

6.输入相关信息后点击“提交”,等待答复。

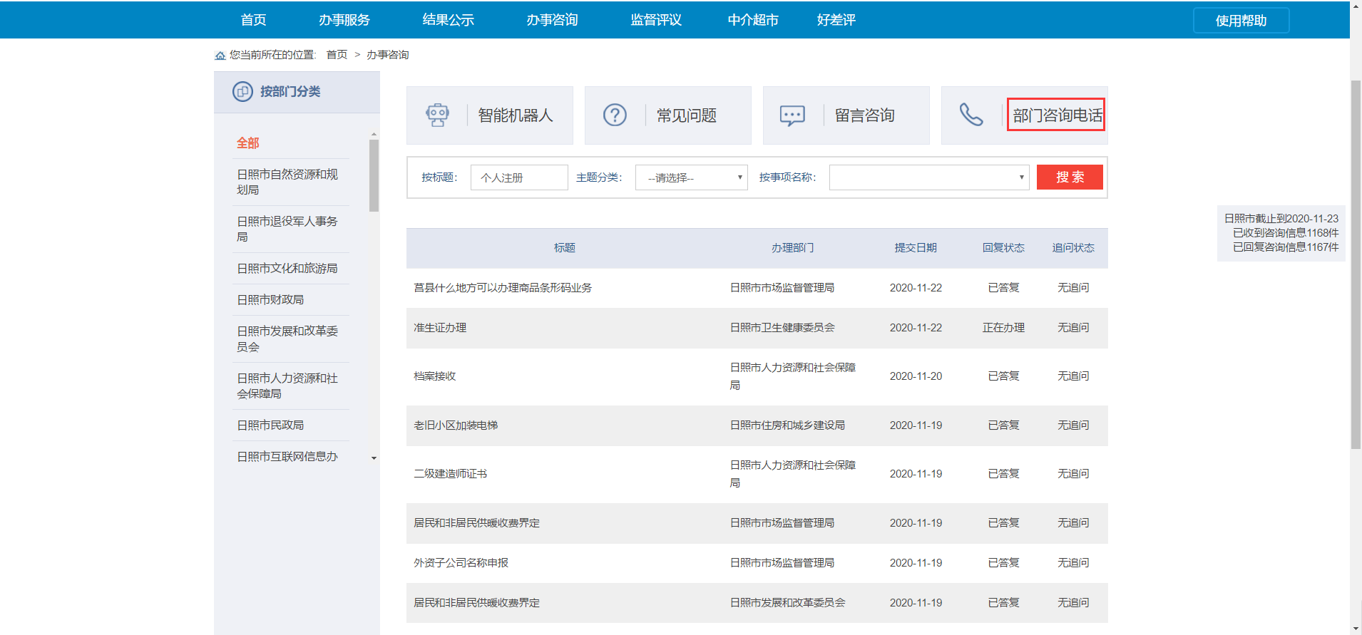
7.如以上步骤仍不能解决问题,点击“部门咨询电话”

8.找到部门电话,致电咨询。

声明:本文来源于日照市政务服务网,由95商服网(原中国政务服务网)排版编辑,如有侵权,请及时联系管理员删除