通知公告
详情

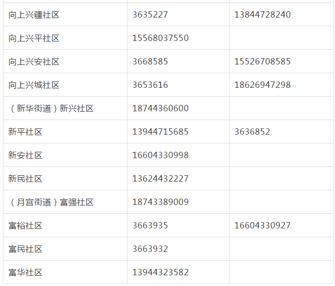
图们市政务服务中心办事大厅窗口工作时间及联系电话

图们市政务服务中心是群众和企业集中到政府办事的一线服务场所,属于重要人群聚集区,也是疫情防控的重点区域。为全力做好政务服务大厅疫情防控和线下对外政务服务工作,图们市政数局多措并举积极应对,做到“防疫”“办事”两不误。


加强宣传引导,提供网上审批预约服务。通过各类媒体向社会发布公告和倡议书,畅通广大群众“网上办”“掌上办”等办理渠道,让群众可通过政务服务网、各部门政务办事平台、手机APP办理所需事项。对外公布各窗口的咨询服务电话,为群众提供预约服务,对于外来人员急需办理的事项实行急事急办、特事特办、免费邮寄等。

声明:本文来源于图们市政务服务网,由95商服网(原中国政务服务网)排版编辑,如有侵权,请及时联系管理员删除。