通知公告
详情

浙江档案服务网上查档、“浙里办”掌上查档指南须知

一、浙江档案服务网网上查档指南

1.输入网址www.zjdafw.gov.cn,打开浙江档案服务网首页。

如果已是浙江政务服务网的实名用户,请直接点首页右上角登录”。

非实名用户请点击注册”,先到浙江政务服务网完成实名注册流程再登录。

 

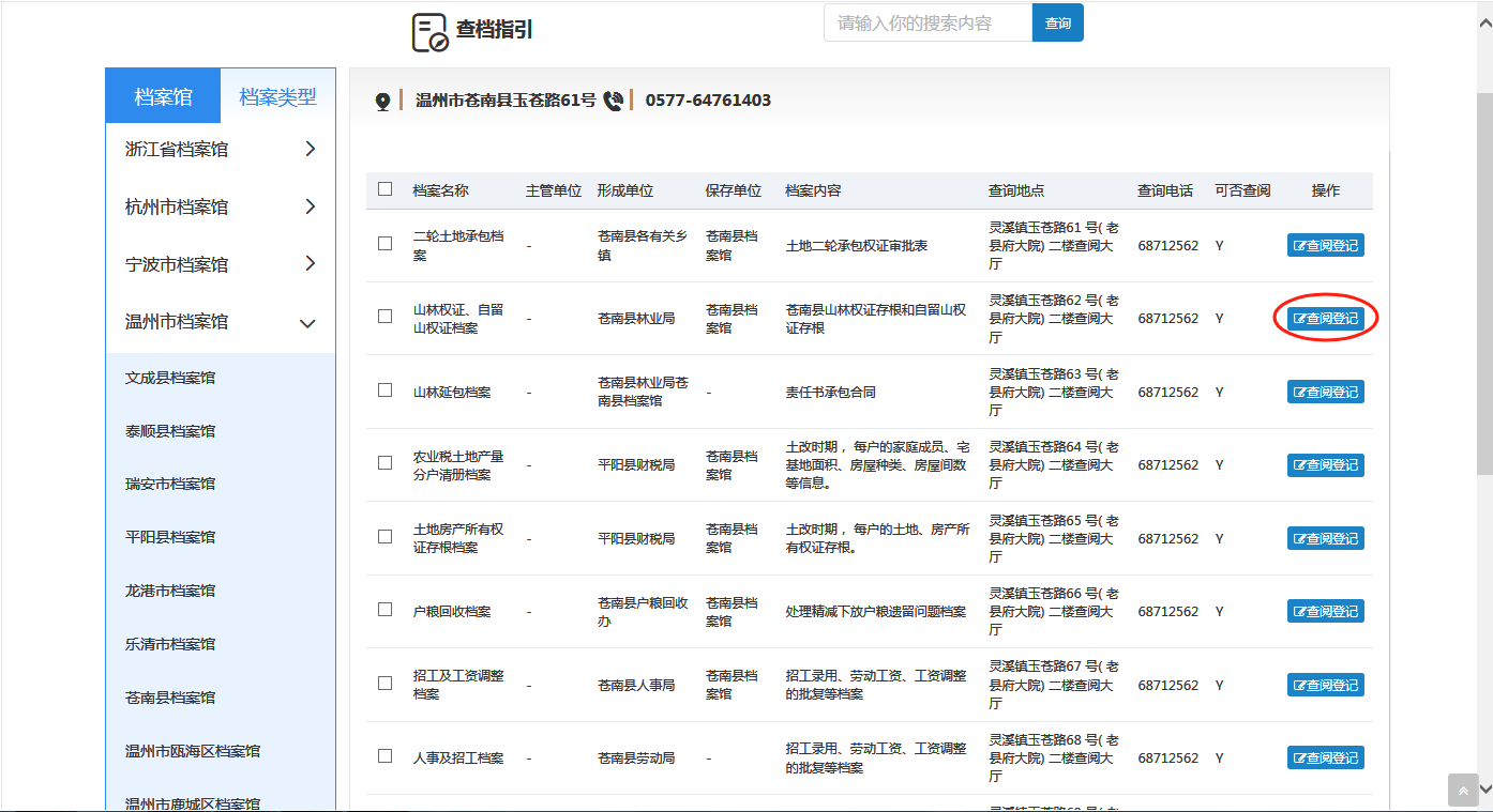
2.登录后,先查询浏览相关档案馆的查档指引,在相关条目点击查档登记”,

或者直接点击首页上的网上查档”。

3.查看并确认查档须知填写查档单保存提交

用户中心-我的查档”可以查看受理进度和办理结果,也可以关注注册手机号的短信通知。


二、“浙里办”掌上查档指南

1.“浙里办”App、支付宝-“浙里办”小程序中搜索“浙里档案”,点击进入。

2.点击最上方滚动图片栏中“档案通查出证”,或直接滑动界面至“档案通查出证”。

 

 

3.点击“网上查档”,查看并确认查档须知填写查档单保存提交

浙里档案-用户中心”中可以查看受理进度和办理结果,也可以关注注册手机号的短信通知。